产品选型
选择臂展
  • 不限
  • 1.5米以内
  • 2米以内
  • 2.5米以内
  • 3米以内
  • 4米以内
选择负载
  • 不限
  • 10kg以内
  • 30kg以内
  • 50kg以内
  • 100kg以内
  • 200kg以内
  • 400kg以内
选型工具
嘿,您好
我能帮上什么忙?

给xpj官网电竞留言

请留言

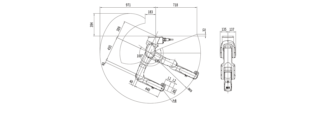
CRP-RA09A-07T3
描述
CRP-RA09A-07T3主要针对PCB板行业生产应用定制开发,应用PCB板行业上下料工序,且为更好适应PCB行业市场,所推出轻巧、应用简单、高速、成本更低的机器人,以满足客户对机器人的需求。
功能特点
  • 2轴采用直连结构,有效提高精度。

  • 电机、减速机采用花键连接,更稳定。

  • 采用定制化结构,有效避开干涉,满足狭小空间应用。

  • 结构紧凑,体积小,重量轻,速度快。


本体技术指标

安装接口图

工作范围图